全校各单位:
根据福建省教育考试院通知,2023年上半年全国大学英语四、六级考试口试(CET-SET)考试时间为5月20至21日,其中20日四级口试、21日六级口试。全国大学英语四、六级考试笔试(CET)考试时间为6月17日,上午四级笔试、下午六级笔试。现将有关报名工作通知如下:
一、报名资格
(一)CET笔试报考资格为我校全日制在校本科生、在籍研究生。不同级别的笔试,只能报考一门。
2022年12月六级笔试缺考的学生,本次CET6禁考一次。
(二)报考CET-SET应先完成对应级别笔试科目的报考,即完成本次CET4笔试报名后方可报考CET-SET4,完成本次CET6笔试报名后方可报考CET-SET6。
(三)在校学生原则上不得跨校区参加考试。
二.报名方式
(一)考生报名登录网址:http://cet-bm.neea.edu.cn,考生登录后可完成笔试和口试科目的报名与缴费,缺考考生的报名考试费不退。
根据《福建省物价局、福建省财政厅关于规范我省教育英语水平考试收费问题的通知》(闽价〔2006〕费67号),CET笔试报名考试费我省为每生每次40元。
CET-SET报名考试费全国统一为每生每次50元。
(二)报名时间
CET4考生以及未通过CET6考生的报名时间:3月28日9:00—4月7日17:00。
已通过CET6考生的报名时间:3月28日15:00—4月7日17:00。
先报先得,报满为止。笔试和口试同时开放报名,我校仅接收本校学生报名笔试和口试。
(三)4月10日前,已成功报考本次考试的残疾考生如需申请合理便利,须按要求向教务处提交申请材料,详情可致电0592-2182275咨询。
(四)5月17日起,考生登录报名系统打印口试准考证。
(五)6月8日起,考生登录报名系统打印笔试准考证。
三、网报流程
(一)图像采集
3月15日16:00前,拟报名的学生应登录厦门大学教务服务平台https://jw.xmu.edu.cn上传报考照片,详见此前已发布的《关于2023年上半年全国大学英语四、六级考试图像采集的预通知》,链接:https://jwc.xmu.edu.cn/info/1911/61381.htm。
(二)信息审核
3月24日至27日期间,拟报名的学生登录报名系统确认本人学籍信息、考生照片及资格信息准确无误,经保存提交后不得更改。若信息有误将影响到考生考试及成绩,须后果自负。
网上信息确认和资格复核的具体说明详见附件1。
(三)候补与缴费
若报名成功,请按页面提示在规定时间内完成缴费,逾期系统将会自动删除报名信息。网报系统具有“候补”功能(具体操作详见附件2),在考位容量报满后,考生可选择提交“候补”申请,系统将按申请先后时间自动排序,依次填补未按时缴费考生空出的考位。能否候补成功,取决于是否有考位空出、空出数量及候补顺序。候补成功后,系统将短信通知考生缴费。
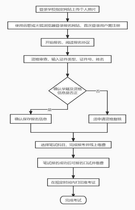
(四)主要流程

(五)由于全国大学英语四、六级考试报名网站为国家统一运营和维护的网站,非我校校内维护系统,报名时若遇到注册、登录等问题,请拨打报名网站页面上的客服电话(010-62987880)咨询有关情况。
(六)全国大学英语四、六级考试考生须知可供参考:
https://cet-kw.neea.cn/Home/CandidateNotice.html。
四、报名人数
按照标准化考场要求,本次考试考点分为厦门大学思明校区(352011)、厦门大学翔安校区(352012)。按照“先报先得,额满截止”原则,如报名人数达到考场最大容量,系统将不再接受报名,敬请考生谅解。成功报名全国大学英语四、六级考试的考生应珍惜每次报名考试的机会。
五、成绩报告单
(一)在成绩发布10个工作日后,考生可登录中国教育考试网https://www.neea.edu.cn查看并下载电子成绩报告单,电子成绩报告单与纸质成绩报告单具有同等效力。
(二)纸质成绩单依申请发放,考生可在报名期间或成绩发布后规定时间内登录CET报名网站自主选择是否需要纸质成绩报告单,申请纸质成绩报告单的考生须按规定到考点领取,成绩发布半年后未领取的视为自动放弃,不再补发。
附件:1.关于2023年上半年全国大学英语四、六级考试网报信息确认和资格复核的说明
2.全国大学英语四、六级考试考生候补报名流程
教务处
2022年3月3日